Teardown of an early capacitive tablet: Mitsubishi Grafnet Model 01

 I recently acquired a very early Mitsubishi drawing tablet. The information I can find online is sparse, so I will tear it down and do some literature searches. Before doing the teardown, I knew nothing about this tablet except that it was made sometime in the 1980s.



Cardboard box

Accessories

My device comes with a pen and a pointing device. At this point, I'm sure it's not based on the inductor resonant technology WACOM is known for: The pen is metallic, with only a very sharp metal tip. The pointing device also has a small ring, the electronic coupling element. This means that the coupling mechanism is not inductive but capacitive. In other words, it's more akin to the Apple Pencil. Later, I found a patent for that pointing device and confirmed it uses a capacitive technology.
Also, the pen and the pointing device are tethered, so I'm expected to find a simple signal chain design.

US 5,041,820 filed in 1987 by Pentel Co Ltd


The tablet itself

Taking a peek inside

Opening the case, I'm greeted by a large flexible board with mesh grids. 

Mainboard

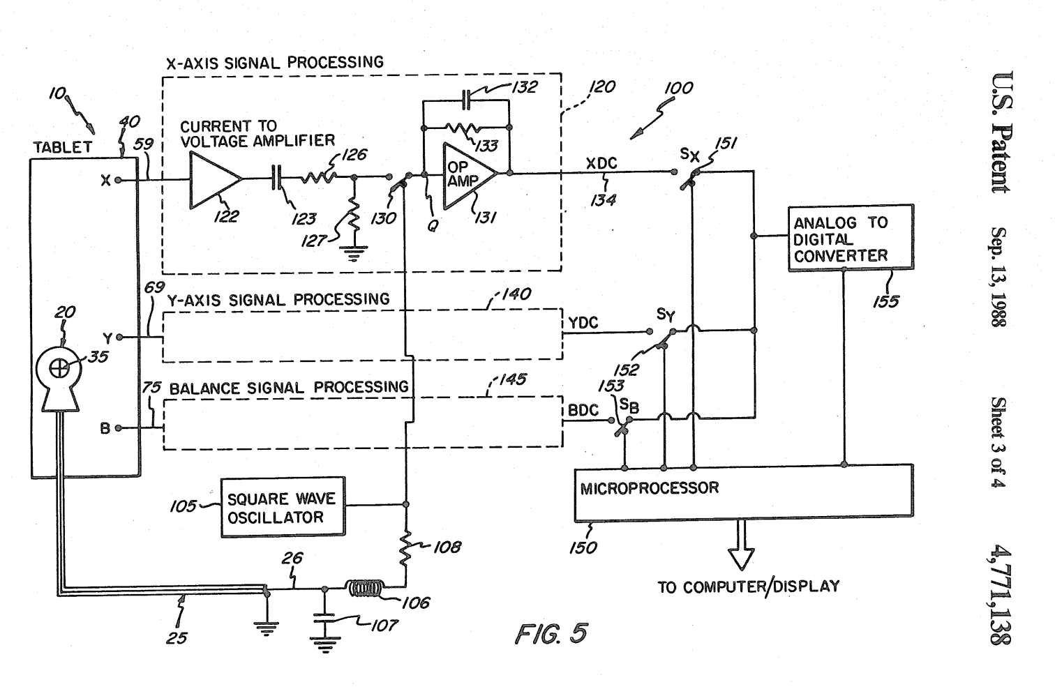
The tablet is controlled by a Toshiba TMP8035P microcontroller. The RF signal chain, located at the top left of the board, consists of an amplifier (CA3100E), a unity gain buffer (LM310N), a diode detector, and a curious ADC (Ferranti ZN449E). The theory of operation is similar to that of many other capacitive tablets of the same era. 
US4,771,138 showing a similar design

I also dumped the ROM, for anyone interested:













Comments

Popular posts from this blog

Color Profiles

Python Multi-core / GPU Digital Phosphor Rendering of Huge Waveform Data

Let's Drive LCD - Extras